Search for content and authors
 

Electrochemical oscillations and bistability in the redox processes of mercury ions, coupled with the self-induced convection of Hg surface.

Maciej T. Gorzkowski ,  Rafał Jurczakowski ,  Marek Orlik 

University of Warsaw, Faculty of Chemistry, Pasteura1, Warsaw 02-093, Poland

Abstract

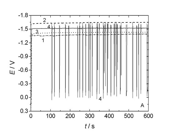
Electrochemical dynamic instabilities remain the subject of intensive studies oriented on the oscillations of the current flowing through the circuit, the oscillatory changes of the working electrode potential and also on the pattern formation on the electrodes. One of the typical sources of instabilities in electrochemical diffusion-migration systems is the existence of the negative differential resistance (NDR) in the current-potential characteristics of the given electrode process. In the systems studied so far such NDR regions were caused either by electrostatic repulsion of ions from reaction site in the double layer, the potential-dependent desorption of the catalyst, or adsorption of an inhibitor on the electrode surface, including even its partial blocking by the particularly compact adsorbate layer. The existence of galvanostatic oscillations is usually interpreted in terms of the hidden negative resistance (HNDR). In our work we described, for the first time, oscillations and bistability which are associated with the NDR region caused by completely different mechanism – the potential-dependent onset and decay of convection associated with the electroreduction of Hg(II) and Hg(I) ions at the mercury electrodes. These processes are known to induce strong convection of the Hg electrode [1]. The nonlinear phenomena were observed by us in various electrochemical reactors including the system resembling the “beating mercury heart” but operating on different basis (involving convection). In our experiments, under potentiostatic conditions the current oscillations were observed in the presence of ohmic drops, while under galvanostatic conditions the large-amplitude oscillations of the electrode potential (Fig. 1) were observed only in the presence of excess of chlorides, producing a permanently existing layer of calomel in contact with the mercury surface. The outline mechanism of those oscillations was suggested [2].

Figure1_1.JPGFigure 1. Steady-state currents (curves 1, 2 and 3) and spontaneous relaxation galvanostatic oscillations (curve 4) of the potential of a Hg electrode during the reduction of Hg(II) and Hg(I) ions in the presence of calomel layer.

It was also found that Hg2+ ions, undergoing fast surface synproportionation with Hg as the electrode material, are more efficient species than Hg22+ for the onset of convection and thus oscillations. Our results enrich the set of electrochemical/oscillatory systems for the ones based on the alternate onset and decay of convection.

[1] T. Makino, K. Morioka, R. Aogaki, J. Electroanal. Chem. 190 (1985) 261 - 265

[2] M. T. Gorzkowski, R. Jurczakowski, M. Orlik, submitted

 

Legal notice
  • Legal notice:
 

Related papers

Presentation: Poster at SMCBS'2007 International Workshop, by Maciej T. Gorzkowski
See On-line Journal of SMCBS'2007 International Workshop

Submitted: 2007-09-21 17:17
Revised:   2009-06-07 00:44